Je souhaite changer mes vitres de porte. Je les ai donc commandé chez ZIP.
La livraison se fait sans problème et quand j'inspecte les vitres, elles sont nickelles. Je ne fais pas attention à ce qu'elles soient... pour un coupé ! Du coup ce n'est absolument pas la même forme.
Mail à ZIP, ils m'en envoient d'autre !
Seconde réception, la forme est bonne ! "Je ferais ça après mes vacances." me dis-je.
Je démonte le tout et... merdeeeeee !
les formes des attaches ne sont pas du tout les même !! Fais chier (pour rester poli !)
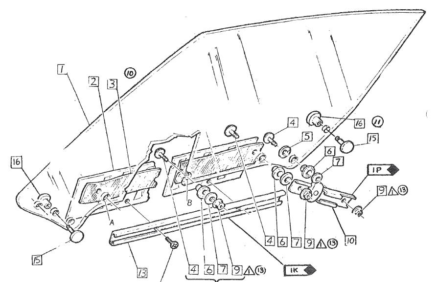
Ma vitre actuelle: Celle que j'ai reçue: On voit bien la différence en bas: Mon assembly manual me confirme le montage que j'ai actuellement comme étant un montage de 68. A tout ceux qui ont démonté / restauré les C3, pouvez vous me dire de quelle forme sont vos vitres (ou le montage) ? avec l'année bien sûr.
Car je pense que ZIP s'est planté encore une fois sur l'année. Et je cherche des preuves avant de leur balancer un mail (et espérer un geste de leur part !!).
Merci beaucoup d'avance.

